GB/T 41108.1-2021 機械安全 聯鎖裝置的安全要求 第1部分:直接斷開位置開關
- 發表時間:2023-01-31
- 來源:共立消防
- 人氣:
1 范圍
本文件規定了直接斷開位置開關的要求和使用信息。
本文件適用于標準負荷或微小負荷的直接斷開位置開關。
2 規范性引用文件
下列文件中的內容通過文中的規范性引用而構成本文件必不可少的條款。其中,注日期的引用文件,僅該日期對應的版本適用于本文件;不注日期的引用文件,其最新版本(包括所有的修改單)適用于本文件。
GB/T 14048.5-2017 低壓開關設備和控制設備 第5-1部分:控制電路電器和開關元件 機電式控制電路電器
GB/T 15706 機械安全 設計通則 風險評估與風險減小
GB/T 18831 機械安全 與防護裝置相關的聯鎖裝置 設計和選擇原則
3 術語和定義
GB/T 15706和GB/T 18831界定的以及下列術語和定義適用于本文件。
3.1
直接斷開位置開關 direct opening position switch
具有一個或多個用于實現安全功能的常閉觸點元件,并通過非彈性部件直接實現觸點分斷的位置開關。
注:直接斷開位置開關屬于1型聯鎖裝置或2型聯鎖裝置,區別在于其操動件是否編碼,見GB/T 18831-2017。
3.2
平均危險失效周期數 mean cycles to dangerous failure
B10D
直到10%的元件發生危險失效時的平均循環次數。
注:元件可以是機械元件、機電元件、氣動元件或液壓元件。
4 要求
4.1 一般要求
直接斷開位置開關應滿足GB/T 14048.5-2017中附錄K的要求。
4.2 結構要求
直接斷開位置開關中,執行直接機械動作使觸點斷開的部件應采用剛性結構。
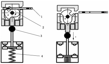
圖1和圖2分別給出了1型聯鎖裝置和2型聯鎖裝置的直接斷斷開位置開關的結構示例。

標引序號說明:
1——操動件(非編碼,如防護裝置);
2——剛性結構:
3——彈簧。
a防護裝置運動方向。
b剛性結構運動方向。
圖1 直接斷開位置開關(1型聯鎖裝置)的結構示例

標引序號說明:
1——操動件(編碼,如卡舌);
2——旋轉凸輪;
3——剛性結構:
4——彈簧。
a剛性結構運動方向。
圖2 直接斷開位置開關(2型聯鎖裝置)的結構示例
4.3 安全性能要求
4.3.1 平均危險失效周期數
直接斷開位置開關的B1op值應不少于2000000次。
注1:假如直接斷開動作的故障排除是可能的。
制造商應在產品說明書中提供B10D和/或根據B1oD確定的性能等級(PL)。
注2:PL.的確定,見GB/T 16855.1。
4.3.2 直接斷開功能
只要操動件位于斷開位置,直接斷開觸點應可靠地斷開并保持斷開狀態。
4.3.3 降低被旁路的可能性
直接斷開位置開關應確保其安全防護功能無法通過簡單的或常規的方式旁路。
對于1型直接斷開位置開關,可在安裝過程中采取措施以防止其功能失效。
對于2型直接斷開位置開關,應確保觸點斷開的情況下,無法通過簡單的機械開關、手或常規物體改變其狀態(例如可通過編碼來實現狀態改變)。
注:防止旁路的更多信息,見GB/T 18831-2017中的第7章。
4.3.4 直接斷開力
直接斷開位置開關能承受的力,應考慮操動件的尺寸、外殼、安裝的環境條件和指定的用途等。
4.4 電磁兼容性(EMC)
直接斷開位置開關應符合GB/T 14048.5-2017中7.3關于電磁兼容性的要求。
4.5 高要求或連續模式的2型聯鎖裝置的附加要求
4.5.1 一般要求
當直接斷開位置開關應用于高要求或連續模式時,除了滿足4.1~4.4規定的要求之外,還應滿足以下要求。
注:高要求或連續模式的定義見GB/T 16855.1-2018中3.1.38。
4.5.2 致動系統/直接斷開系統
4.5.2.1 一般要求
當直接斷開位置開關應用于高要求或連續模式,且觸點沒有封裝在外殼內部時(如單片式外殼),觸點應不能通過簡單的工具拆卸并且安裝中應注意防止意外松動。
4.5.2.2 開關強度
當直接斷開位置開關的斷開觸點處于閉合狀態時,加載最小為1000N的開啟力,致動系統不應受到損害,且致動機構(操動件)應保持在閉合位置。
解除鎖定后,直接斷開位置開關不應出現會降低安全性能的損傷并且其相應功能仍完好。
4.5.2.3 致動機構(操動件)的強度
如果直接斷開位置開關應用于高要求或連續模式的場合,其操動件的材質應為金屬材料,且操動件單側受到6.35J的垂直沖擊載荷時,不應導致操動件出現明顯的變形失效與破壞。
4.5.3 觸點單元
如果直接斷開位置開關應用于高要求或連續模式的場合,應具有兩組直接斷開觸點。
4.5.4 外殼防護等級
如果直接斷開位置開關應用于高要求或連續模式的場合,其最低的防護等級應為IP65。
以上為標準部分內容,如需看標準全文,請到相關授權網站購買標準正版。
-
IG541混合氣體滅火系統
IG541混合氣體滅火系統:IG-541滅火系統采用的IG-541混合氣體滅火劑是由大氣層中的氮氣(N2)、氬氣(Ar)和二氧化碳(CO2)三種氣體分別以52%、40%、8%的比例混合而成的一種滅火劑 -
二氧化碳氣體滅火系統
二氧化碳氣體滅火系統:二氧化碳氣體滅火系統由瓶架、滅火劑瓶組、泄漏檢測裝置、容器閥、金屬軟管、單向閥(滅火劑管)、集流管、安全泄漏裝置、選擇閥、信號反饋裝置、滅火劑輸送管、噴嘴、驅動氣體瓶組、電磁驅動 -
七氟丙烷滅火系統
七氟丙烷(HFC—227ea)滅火系統是一種高效能的滅火設備,其滅火劑HFC—ea是一種無色、無味、低毒性、絕緣性好、無二次污染的氣體,對大氣臭氧層的耗損潛能值(ODP)為零,是鹵代烷1211、130 -
手提式干粉滅火器
手提式干粉滅火器適滅火時,可手提或肩扛滅火器快速奔赴火場,在距燃燒處5米左右,放下滅火器。如在室外,應選擇在上風方向噴射。使用的干粉滅火器若是外掛式儲壓式的,操作者應一手緊握噴槍、另一手提起儲氣瓶上的


