GB 40881-2021 煤礦低濃度瓦斯管道輸送安全保障系統設計規范
- 發表時間:2023-02-02
- 來源:共立消防
- 人氣:
1 范圍
本文件規定了煤礦低濃度瓦斯管道輸送安全保障系統設計的基本要求、安全設施的安裝要求等內容。
本文件適用于煤礦低濃度瓦斯管道輸送的安全保障系統設計。
2 規范性引用文件
下列文件中的內容通過文中的規范性引用而構成本文件必不可少的條款。其中,注日期的引用文件,僅該日期對應的版本適用于本文件;不注日期的引用文件,其最新版本(包括所有的修改單)適用于本文件。
GB 50016 建筑設計防火規范
GB 50028 城鎮燃氣設計規范
GB 50057 建筑物防雷設計規范
GB 50471 煤礦瓦斯抽采工程設計標準
AQ 1072 瓦斯管道輸送水封阻火泄爆裝置技術條件
AQ 1073 瓦斯管道輸送自動阻爆裝置技術條件
AQ 1078 煤礦低濃度瓦斯與細水霧混合安全輸送裝置技術規范
AQ 1079 瓦斯管道輸送自動噴粉抑爆裝置通用技術條件
AQ/T 1104 煤礦低濃度瓦斯氣水二相流安全輸送裝置技術規范
CJJ 33 城鎮燃氣輸配工程施工及驗收規范
MT 209 煤礦通信、檢測、控制用電工電子產品通用技術要求
3 術語和定義
下列術語和定義適用于本文件。
3.1
煤礦低濃度瓦斯 low concentration gas of coal mine
甲烷體積濃度大于或等于3%且小于30%的煤礦瓦斯。
3.2
水封 water seal
利用一定高度的水將管道內一端的高溫氣體與另一端管道隔離、防止燃燒或爆炸繼續傳播的方式。
3.3
水封阻火泄爆裝置 water sealing of fire barriering & explosion venting devices
采用水封消焰阻火、泄爆部件泄除爆炸壓力,將管道內瓦斯爆炸控制在一定范圍內的安全保障裝置。
3.4
自動抑爆裝置 automatic explosion suppression devices
通過對瓦斯管道燃燒或爆炸信息的探測,自動噴出滅火劑將燃燒或爆炸傳播過程中的火焰撲滅,抑制燃燒或爆炸火焰傳播的裝置。
3.5
自動阻爆裝置 automatic preventing explosion devices
通過對瓦斯管道燃燒或爆炸火焰、壓力等信息的探測,自動控制阻爆閥門動作,阻斷燃燒爆炸火焰傳播的裝置。
3.6
脫水器 dehydration device
將氣體輸送管路中水分分離出來的裝置。
3.7
氣水二相流輸送抑爆裝置 explosion suppression devices for two-phase-flow(gas-water)
用氣水二相流管路輸送煤礦瓦斯,使瓦斯在環形及端面水封的管路中形成間歇性柱塞氣流的安全輸送抑爆裝置。
3.8
細水霧輸送抑爆裝置 explosion suppression devices for water mist transportation
煤礦瓦斯管道內瓦斯與細水霧全程連續混合,能起到抑制燃燒或爆炸火焰傳播作用的裝置。
4 基本要求
4.1 在煤礦低濃度瓦斯管道輸送系統中靠近可能的火源點(發電機組進氣側、地面排空管口、自燃和容易自燃煤層采空區抽采瓦斯管入口等)管道上,應安設安全保障系統,確保管道輸送安全。
4.2 系統設計應遵循“阻火泄爆、抑爆阻爆、多級防護、確保安全”的基本原則,安全保障系統應根據氣體輸送的不同用途從阻火泄爆、抑爆、阻爆、防逆流、安全監控控制以及防雷等安全設施中選擇不同的組合構成方式。
4.3 正壓輸送管道系統中應安設防逆流裝置,防止抽采泵突然停泵而出現回流。
4.4 低濃度瓦斯管道輸送系統不應設置緩沖罐。
4.5 加壓設備應選擇濕式壓縮機。
4.6 抽采設備應選擇濕式抽采泵。
4.7 正壓輸送時,輸送壓力不應超過20kPa。
4.8 脫水器內應無機械運動零部件和電氣部件。
4.9 在管道輸送系統中應設置安全監測控制設施。安全監測控制設施除應符合MT209的有關規定外,還應具有以下功能:
a)瓦斯管道輸送安全保障設施的狀態參數監測與報警的功能;
b)在發生瓦斯燃燒或爆炸時,應能控制安全保障設備快速啟動,將瓦斯燃燒或爆炸控制在一定范圍內。
4.10 安全設施安設段管道及附件應能承受正壓2.5 MPa的壓力,其他管道及附件應能承受正壓1.0 MPa、負壓0.097 MPa的壓力。安全設施安設段管道應選用金屬管道。
5 安全設施
5.1 內燃機瓦斯發電用管道輸送
5.1.1 瓦斯發電用低濃度瓦斯管道輸送安全保障設施應安設阻火泄爆、抑爆、阻爆三種不同原理的阻
火防爆裝置。阻火泄爆裝置應優先選擇水封阻火泄爆裝置;抑爆裝置應選擇自動抑爆裝置、細水霧輸送抑爆裝置和氣水兩相流輸送抑爆裝置中的一種;阻爆裝置應選擇自動阻爆裝置。上述安全裝置應分別符合AQ 1072、AQ 1073、AQ 1078、AQ 1079和AQ/T1104的要求。
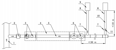
5.1.2 安全保障設施安設段為火焰傳感器至自動阻爆裝置之間的管道,安全保障設施的安裝順序為:第一級阻火泄爆裝置,第二級抑爆裝置,第三級阻爆裝置,其安裝位置詳見圖1。

標引序號說明:
1——主管:
2——防逆流裝置;
3——阻爆裝置;
4——抑爆裝置安設段;
5——分管;
6——水封阻火泄爆裝置;
7——壓力傳感器;
8—— 火焰傳感器;
9——發電設備;
10——支管;
11——氣流方向。
圖1 瓦斯發電利用系統安全設施安裝示意圖
5.1.3 監控用火焰、壓力傳感器安裝在支管上。火焰傳感器距發電機組不大于3m,壓力傳感器距火焰傳感器3m~5m。如支管上安裝有脫水器,火焰傳感器位于脫水器與發電機組之間,距離脫水器2m~3m;壓力傳感器位于脫水器與分管之間,距離脫水器1m~2m。
5.1.4 水封阻火泄爆裝置的安設位置距最遠端支管的距離(沿管道軸向)應小于30m。
5.1.5 水封阻火泄爆裝置應能自動控制水位,使其保持有效阻火的水封高度。
5.1.6 抑爆裝置選用自動抑爆裝置時,其抑爆器安設位置距離最近的火焰傳感器的距離(沿管道軸向)為40m~50m;選用細水霧輸送抑爆裝置或氣水二相流輸送抑爆裝置時,其安裝始端距水封阻火泄爆裝置的距離不大于3m。
5.1.7 自動阻爆裝置距抑爆裝置的抑爆器末端距離不大于10m。
5.1.8 安全保障設施任一裝置的運行參數不能滿足安全要求時,應能實現自動報警,隨后打開排空管,并在報警后3min內關停發電機組。
5.1.9 安全保障設施安設段管道公稱內徑應滿足安全保障設施、設備規定的內徑要求。
5.2 地面瓦斯排空用管道輸送
5.2.1 抽采低濃度瓦斯的抽采系統,其地面瓦斯排空管路應安設阻火泄爆、抑爆兩種阻火防爆裝置。阻火泄爆裝置應優先采用水封式阻火泄爆裝置,抑爆裝置應優先采用自動抑爆裝置。安設位置見圖2所示。
以上為標準部分內容,如需看標準全文,請到相關授權網站購買標準正版。
-
IG541混合氣體滅火系統
IG541混合氣體滅火系統:IG-541滅火系統采用的IG-541混合氣體滅火劑是由大氣層中的氮氣(N2)、氬氣(Ar)和二氧化碳(CO2)三種氣體分別以52%、40%、8%的比例混合而成的一種滅火劑 -
二氧化碳氣體滅火系統
二氧化碳氣體滅火系統:二氧化碳氣體滅火系統由瓶架、滅火劑瓶組、泄漏檢測裝置、容器閥、金屬軟管、單向閥(滅火劑管)、集流管、安全泄漏裝置、選擇閥、信號反饋裝置、滅火劑輸送管、噴嘴、驅動氣體瓶組、電磁驅動 -
七氟丙烷滅火系統
七氟丙烷(HFC—227ea)滅火系統是一種高效能的滅火設備,其滅火劑HFC—ea是一種無色、無味、低毒性、絕緣性好、無二次污染的氣體,對大氣臭氧層的耗損潛能值(ODP)為零,是鹵代烷1211、130 -
手提式干粉滅火器
手提式干粉滅火器適滅火時,可手提或肩扛滅火器快速奔赴火場,在距燃燒處5米左右,放下滅火器。如在室外,應選擇在上風方向噴射。使用的干粉滅火器若是外掛式儲壓式的,操作者應一手緊握噴槍、另一手提起儲氣瓶上的


